Sign In | Join Free | My benadorassociates.com
China Sinuo Testing Equipment Co. , Limited logo
Sinuo Testing Equipment Co. , Limited
Sinuo Testing Equipment Co., Limited
Verified Supplier

5 Years

Home > EV Battery Testing Equipment >

AIS 038 Electrical Vehicle Battery Crush And Nail Penetration Test Chamber

Sinuo Testing Equipment Co. , Limited
Trust Seal
Verified Supplier
Credit Check
Supplier Assessment
Contact Now

AIS 038 Electrical Vehicle Battery Crush And Nail Penetration Test Chamber

Brand Name : Sinuo

Model Number : SN554B-15T

Certification : Calibration Certificate (Cost Additional)

Place of Origin : China

MOQ : 1

Price : Customized

Payment Terms : T/T

Supply Ability : 10 sets/month

Delivery Time : 30 days

Packaging Details : Plywood box

Applied Standard : AIS 038, IEC62133-2012

Maximum Pressure : 1KN-150KN(adjustable)

System Structure : Vertical pressure structure

Driving Mode : Servo motor

Extrusion Stroke : 0~450mm

Velocity Condition : 1 - 15mm/s

Speed Display Accuracy : 0.1mm

Pressure Display Accuracy : 1N

Contact Now

AIS 038 Electrical Vehicle Battery Crush And Nail Penetration Test Chamber

Complied Standards & Clauses For Electrical Vehicle Battery Crush And Nail Penetration Test Chamber


Conforms to AIS 038 crush test in page no. 79 of 106 cl.no. 3.2, Nail penetration test in page no. 101 of 106 cl.no. 3.3.2 (a), IEC62133-2012, QC/T 743-2006, QC/T 744-2006 etc.

Equipment Overview For Electrical Vehicle Battery Crush And Nail Penetration Test Chamber


This testing machine simulates the different conditions that may occur when the battery is subjected to extrusions during the use of various power lithium battery grades.

The battery is placed between an extruding plate, and the motor applies pressure to the extruded battery through the screw, and automatically returns after reaching a certain pressure.

This test equipment is mainly used for the safety detection of automotive lithium batteries, power batteries, accumulators, electric vehicle batteries and other batteries.

It is a set of pressure system, explosion-proof system, data acquisition system, computer control system and so on. The main body of the test equipment and the control system are isolated and operated separately to realize remote monitoring and testing, and multi-layer safety protection device can meet multiple test standards.

The main components are imported, which is an essential testing equipment for battery manufacturers and research institutes.

Technical Parameters For Electrical Vehicle Battery Crush And Nail Penetration Test Chamber


  1. Extrusion technical index
1. 1 Maximum pressure 1KN-150KN(adjustable)
1. 2 System structure Vertical pressure structure
1. 3 Driving mode Servo motor
1. 4 Input voltage 380V frequency 50 Hz
1. 5 Extrusion stroke 0~450mm(Extrusion fixtures are not included)
1. 6 Extrusion accuracy ±1%
1. 7 Velocity condition 1 - 15mm/s(adjustable)
1. 8 Speed Display Accuracy 0.1mm
1. 9 Pressure Display Accuracy 1N
1. 10 Velocity error ≤1%
1. 11 Force error ±1%
1. 12 Unit conversion Kg/N/Lb
1. 13 Test condition Force, displacement (deformation), voltage, one of three or a combination of three
1. 14 Squeeze pause time 0~99 hours 59 minutes 59 seconds, the time state can be set at will to adjust the amount of deformation cloth and automatic termination
1. 15 Control mode PC upper computer control system
1. 19 Box size W1000*D1000*H1000 mm
1. 16

Temperature range

Collection range: -20 ~1000℃; two-channel
Accuracy: ±1℃;
1. 17 Voltage range Collection range: 0~100V

Acquisition accuracy: 100ms;
Channel: 1 channel;
1. 18 communication Using R232,45 communication interface, can ensure the stability and real-time remote acquisition, with explosion-proof function
1. 19 Safety stop switch Has an "emergency stop" button
1. 20 Inner box material SUS 201# stainless steel (thickness 3.0mm reinforced and total thickness of outer box 80mm)
1. 21 Outer box material Cold mixed plate baking (thickness 1.5mm)
1. 22 Box body Adopt vertical structure
1. 23 Smoke vent 100mm, located above the back of the box
1. 24 Door Left door, observation window, cold handle door lock
1. 25 Explosion-proof pressure relief device With explosion-proof pressure relief function, that is, the rear of the protective box has a magnet adsorption type pressure relief door (specification: 400*400mm), when the strong air impact, the pressure relief door automatically opens to reduce the explosion impact.
1. 26 Fire extinguishing installation The extruded box is equipped with a fire extinguishing device. Once the battery explodes, the fire extinguishing device and system can be opened by remote control or manual.
1. 27 Exhaust system When the test sample produces smoke, the device can automatically exhaust the smoke through the pipe
1. 28 Lighting installation High brightness energy-saving lighting explosion-proof lamps are placed in the test tank to illuminate the entire test space for easy test observation
1. 29 Surveillance camera system

The test area is equipped with a high-definition explosion-proof camera monitoring system (with protective cover), and can be remotely controlled to ensure that the data is equipped with no less than 3 million pixels.

AIS 038 Electrical Vehicle Battery Crush And Nail Penetration Test Chamber

1.30 Equipment bottom Install 4 universal wheels, both easy to move, but also stable parking fixed.
1. 31 Window size 300*300*10mm (Thick double tempered explosion-proof glass)
1. 32 External dimension 1200W X 120D X 2200H mm(Actual design shall prevail)
1. 33 Power source AC 380V 50HZ
1. 34 power 7.5KW
1. 34 Machine weight about 1350KG
2. Applicable Instructions
2. 1 Extrusion method

Single battery extrusion test:

(1) Test according to the following conditions;

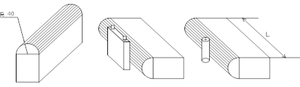
-- Extrusion direction: pressure perpendicular to the battery plate (see Figure 1);

--Extrusion plate form: a half cylinder with a radius of 75mm, the length of the half cylinder (L) is greater than the size of the battery to be extruded;

-- Extrusion degree: Stop extrusion when the voltage reaches 0V or the shell breaks;

(2) Observe for 1h;

(3) Inspection standards: no explosion, no fire.

Battery pack extrusion test

(1) Extrusion plate form:

Half cylinder with a radius of 75mm, the length of the half cylinder is greater than the size of the extruded battery, but not more than 1m.

(2) Extrusion direction:

The direction in which the battery module is most vulnerable to extrusion in the vehicle layout is the same. If the direction most susceptible to extrusion is not available, pressure is applied perpendicular to the direction of the single battery arrangement.

AIS 038 Electrical Vehicle Battery Crush And Nail Penetration Test Chamber

(3) Extrusion degree

The deformation of the battery module reaches 30% or the extrusion pressure reaches 1000 times the weight of the battery module and the larger values listed in Table 2 below.

Table 2 Extrusion pressure selection table

Number of contact monomers n on the extrusion surface Extrusion force (kN)
1 200
2~5 100*n
>5 500

-- Hold for 10 minutes.

3. Pressure test system
3. 1

Force acquisition system: High precision Coriolis force sensor 20000KG to meet different tests

At the same time, the force test accuracy is within ± 0.5%F.S;

3. 2

Power system:

Ac servo motor;

Ac driver;

Worm gear reducer

Taiwan imported high precision ball screw.

3. 3

Control system:

Pulse Command control mode makes the control more accurate;

Speed control range: 1~20mm/S;

The center board adjustment has the functions of fast coarse adjustment and slow fine-tuning.

Automatic return to the origin and automatic storage after testing;

3. 4 Data transmission mode: RS232 transmission
3. 5 Display mode: computer screen display.
3. 6

Deluxe test interface software can achieve fixed speed, positioning shift, fixed load (can be set hold time),

The control mode of constant load increase rate, constant stress increase rate, constant strain increase rate and so on can be combined with multi-stage control mode

Meet different test requirements.

3. 7

Full displacement:

Encoder 1000 P/R, double precision;

LINE DRIVE encoder has strong anti-interference ability;

Displacement analysis 0.5mm;

3. 8

Safety device:

Overload emergency shutdown device;

Up and down travel limit device;

Automatic breakpoint stop function.

3. 9

Others:

Voltage shutdown function: When testing the external voltage of the battery, the shutdown voltage can be set at both ends of the battery

When the voltage drops to the set voltage, the output signal stops the system.

4. Features
4. 01 The test box is an independently sealed area, isolated from the power area at the bottom and the exhaust lighting area at the top, which can prevent the flame, high temperature gas, leakage gas, etc., from spreading to other areas;
4. 02 The test box is provided with an exhaust system. The internal exhaust outlet of the box is arranged on the top of the box and equipped with an air collecting hood; The lower left side of the interior of the box is provided with a supplement air outlet; The exhaust fan is composed of a long-axis motor and a steel wind wheel, with large air volume, fire resistance and high temperature resistance
4. 03 The test box is all composed of high temperature resistant and flame retardant parts (no plastic pipelines, wires, rubber gaskets, sealing rings, lubricating oil, oil, etc.), and the box door is sealed with high temperature resistant seals;
4. 04 The front door of the test box adopts reinforced design, which can effectively isolate the damage caused by fire and explosion during the test. The door panel adopts a double-layer design with interlayers, and the hinge and door lock adopt reinforced equipment special standard parts. The door window adopts double-layer explosion-proof design tempered glass;
4. 05 The open side of the backplane of the test chamber uses a hinge and the other side uses a magnetic adsorption movable door, which plays an effective role in blasting. When the backplane is closed, it should be sealed around it to prevent gas leakage in the test box; When there is an explosion inside the box, the high-pressure gas generated can open the pressure relief door to protect other aspects of the equipment from damage and the safety of the test personnel;
4. 06 The bottom plate of the test box adopts an integrated design, without holes and gaps, which is easy to clean.
4. 07 The top of the test box is equipped with a lamp, and the tempered glass protective cover is used to protect the outside of the lamp to prevent the flame and ejection from damaging the lamp. Standard detachable fasteners are used to connect the test box for easy disassembly and replacement;
4. 08 Extrusion testing machine has electrical safety in line with national standards, which can effectively prevent and eliminate electric shock hazards that may occur in operation and maintenance personnel. During normal operation, except for the circuit part of the equipment, the shell of the equipment and the metal parts in the test box will not be charged. In the event of an accident, such as fire, leakage, short circuit, etc., the equipment can automatically cut off the external input power, so that any part of the equipment is not charged;
4. 09 The extrusion testing machine should have an "emergency stop" button to facilitate emergency treatment in critical situations. The "emergency stop" button is used to stop all actions of the extrusion testing machine in critical cases to prevent the occurrence of hazards; After the "emergency stop" button is reset, the extrusion testing machine is in normal operation state;
4. 10 The extrusion fixture of the extrusion testing machine can be flexibly disassembled and easily replaced. Available extrusion fixture: flat extrusion disc
4.11 The extrusion testing machine shall be equipped with a universal roller for easy movement and an adjustable support foot for a fixed position;
4.12 The extrusion testing machine has the function of self-protection pressure setting, which can prevent excessive extrusion pressure during the extrusion test and damage the equipment. When the extrusion pressure reaches the set protection pressure value, the extrusion testing machine automatically stops. At this time, only the extrusion fixture can be lifted, and the extrusion test cannot be continued.
5. Introduction of extruder software
5. 01

Control software main interface

AIS 038 Electrical Vehicle Battery Crush And Nail Penetration Test Chamber

5. 02

Setting interface

AIS 038 Electrical Vehicle Battery Crush And Nail Penetration Test Chamber

5. 03

Graph

AIS 038 Electrical Vehicle Battery Crush And Nail Penetration Test Chamber

5. 04 Extruder software introduction
This press test system is suitable for 1kN-20000kN pressure testing machine
The real-time screen display of force-deformation, force-displacement and other test curves is realized, which can be switched and observed at any time, and the curve is very convenient to enlarge and reduce;
The data curve of the whole test process can be automatically recorded and saved;
The digital zeroing of test force and deformation is realized, which is convenient for operation and improves the reliability of the machine.
The test data is managed by database, and all the test data is saved automatically
Automatically complete the test process, judge the broken type, automatically record and save the test data;
With overload protection automatic stop function, and can automatically judge the sample fracture, automatic stop
A variety of report output methods, powerful report editing function, users can according to their own requirements in a very short time to prepare any format of the test report
The data adopts the database management mode, automatically saves the test data and curves to the database, ensures the integrity and unity of the data, and is easy for users to query and manage;
The data curve of the whole test process can be automatically recorded and saved;
Man-machine interface adopts standard Windows style, easy to operate and learn, and can meet the normal control, collection and calculation;
6. equipment standard configuration
6. 01 Vertical main machine 1 set 1 SET
6. 02 Enclosed protective box (with pressure relief and exhaust function) 1 SET
6. 03 Brand computer (not less than the following configuration: 20 inch LCD, 1000GB) 1 SET
6. 05 Pressure sensor system 1 SET
6. 06 Voltage, temperature comprehensive acquisition system 1 set of each
6. 07 Product specification A piece


Product Tags:

AIS 038 EV Battery Testing Equipment

      

0.1mm EV Battery Testing Equipment

      
Quality AIS 038 Electrical Vehicle Battery Crush And Nail Penetration Test Chamber for sale

AIS 038 Electrical Vehicle Battery Crush And Nail Penetration Test Chamber Images

Inquiry Cart 0
Send your message to this supplier
 
*From:
*To: Sinuo Testing Equipment Co. , Limited
*Subject:
*Message:
Characters Remaining: (0/3000)